Транспортер навозоуборочный скребковый ТСН-3Б
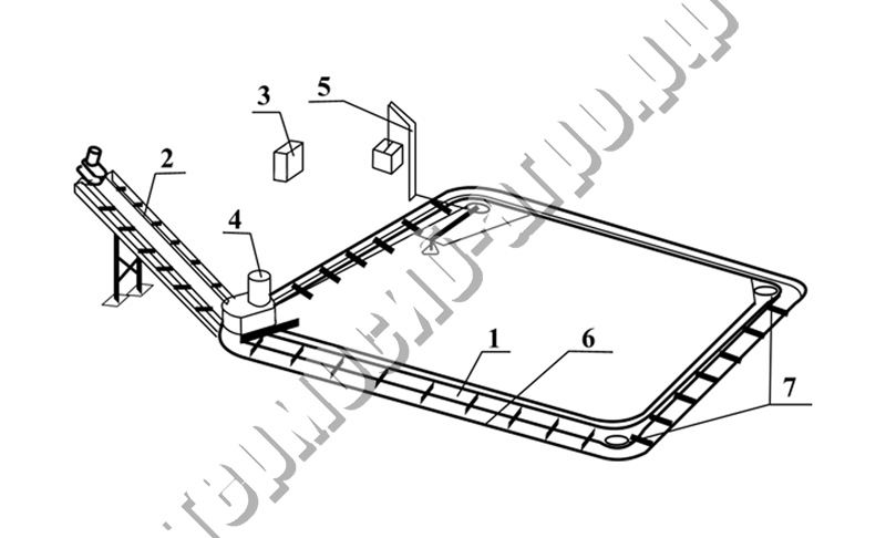
Транспортер скребковый ТСН-3Б используют, чтобы удалять навоз крупного рогатого скота из стойловых помещений. Механизация процесса удаления навоза делает возможной уборку лишь два раза в течение суток (уборка занимает не более 30 минут), привлекая к уборке только оператора транспортера. Скребки, продвигаясь по бетонным лоткам в полу стойла, собирают навоз, затем наклонная часть транспортера поднимает навоз от горизонтальной части по наклонному лотку для погрузки в транспортное средство или навозохранилище. Комплектация:
- Цепь ТСН-3Б 160 (комплект) метров.
- Цепь ТСН-3Б 13 (комплект) метров.
- Лоток ТСН 3б наклонный в сборе.
- Пульт управления ТСН.
- Устройство поворота ТСН-3Б 2 шт.
- Устройство натяжное ТСН-3Б.
- Рамка главного привода.
- Редуктор ТСН-3Б-02.020 (большой).
- Редуктор ТСН-3Б-00.760 (малый).
- Двигатель 112МВ6(4*1000).
- Двигатель L4У3(2.2*1500).
- Рамка лотка натяжная с винтом .
- Шестерня ТСН-00-635 большая.
- Шестерня ТСН-00-635 малая.
- Звездочка 105 к трансп.ТСН-3Б(накл).
- Звездочка 144 к трансп.ТСН-3Б(вед).
- Болт анкерный ТСН 13 шт.
- Стойка натяжного устройства ТСН.
- Трос стальной ф 8.3 4 метра.
- Цепь ТСН-3Б 160 (комплект) метров.
- Цепь ТСН-3Б 13 (комплект) метров.
- Лоток ТСН 3б наклонный в сборе.
- Пульт управления ТСН.
- Устройство поворота ТСН-3Б 2 шт.
- Устройство натяжное ТСН-3Б.
- Рамка главного привода.
- Редуктор ТСН-3Б-02.020 (большой).
- Редуктор ТСН-3Б-00.760 (малый).
- Двигатель 112МВ6(4*1000).
- Двигатель L4У3(2.2*1500).
- Рамка лотка натяжная с винтом .
- Шестерня ТСН-00-635 большая.
- Шестерня ТСН-00-635 малая.
- Звездочка 105 к трансп.ТСН-3Б(накл).
- Звездочка 144 к трансп.ТСН-3Б(вед).
- Болт анкерный ТСН 13 шт.
- Стойка натяжного устройства ТСН.
- Трос стальной ф 8.3 4 метра.
вес: 2130.00кг
472000.00 ₽
1 шт
под заказ

